Akankah Strap Helm Otomatis Menjadi Standar Keamanan Baru di Masa Depan?

Akankah Strap Helm Otomatis Menjadi Standar Keamanan Baru di Masa Depan?

Akankah Strap Helm Otomatis Menjadi Standar Keamanan Baru di Masa Depan?---Visordown

JAKARTA, DUNIASCOOTER.COM -- Teknologi keselamatan helm motor kini tengah menuju ke arah yang baru dan unik.

Perusahaan keselamatan otomotif terkemuka, Autoliv, baru saja mematenkan desain strap pengikat helm inovatif.

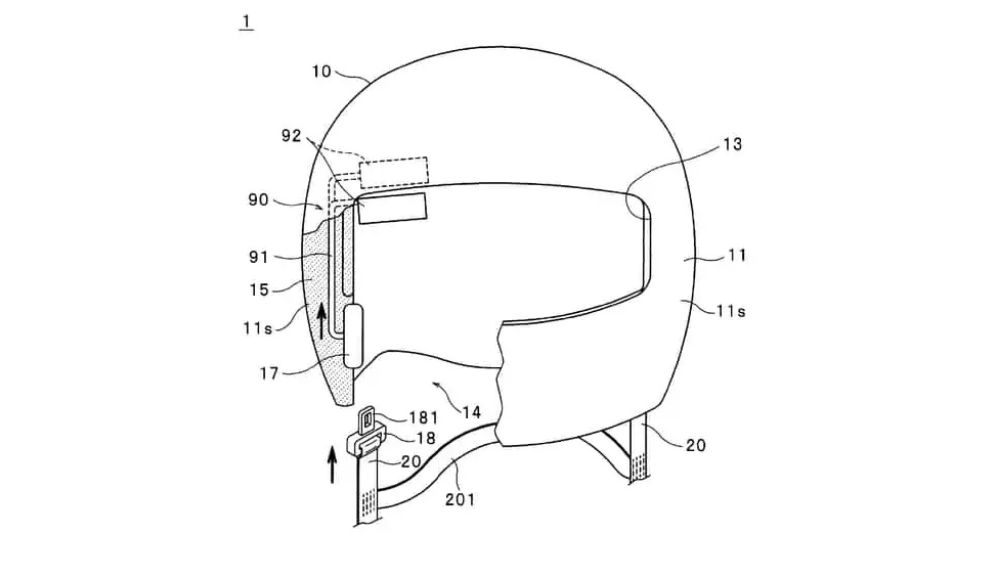
Penemuan ini berpotensi mengubah standar desain pelindung kepala yang selama ini kita kenal.

Fokus utamanya adalah menciptakan sistem pengikat yang bisa menyesuaikan kekencangan secara otomatis.

BACA JUGA:Mengenal Spesifikasi Gesits GV1, Skuter Listrik Modern dengan Jarak Tempuh Hingga 150 KM

Selama bertahun-tahun, desain strap pengikat helm tidak mengalami banyak perubahan signifikan.

Industri helm motor biasanya mengandalkan sistem double-D ring sebagai standar keamanan tertinggi.

Namun, banyak pengendara harian lebih memilih sistem micro-metric ratchet karena kepraktisannya.

Ada juga inovasi lain seperti sistem magnetik “Fid Lock” yang populer akhir-akhir ini.

BACA JUGA:Lebih dari Sekadar Riding, Vario125 Night Ride Vol. 2 Perkuat Solidaritas Komunitas Honda

Autoliv mencoba mendobrak tradisi tersebut dengan membawa teknologi dari dunia mobil.

Mereka memanfaatkan mekanisme yang mirip dengan cara kerja sabuk pengaman pada kendaraan roda empat.

Melalui teknologi ini, strap helm bisa mengendur saat ditarik perlahan oleh pengendara.

Namun, sistem akan kembali mengencang secara otomatis untuk memastikan posisi helm tetap stabil.

Temukan konten Duniascooter.com menarik lainnya di Google News

Tag
Share
Berita Lainnya